伦迪叉车:CBD系列-全电动搬运车
品牌:伦迪
产品详情
产品参数
产品图片
应用技术特点
■手把设有紧急反向开关,整车操作更具安全性;
■电量显示和工作时间显示;
■紧急断电开关;
■龟形慢速行驶开关;
■无级变 速控制;
■弹簧调节结构平 衡轮耐磨损,稳定性好;
■交流电机, 无需更换碳刷,具有良好的坡道启动性能等;
■整个驱动单 元回转半径小,轮子更换维护简单方便;
■电机具有更好的防尘、防水效果,使得制动器和电机更加经久耐用,可靠性得以提高;
■站人踏板具有 良好的避震效果,操作舒适,不易疲
■转动轴上加润滑油嘴和衬套,方便用户更好的维护车子;
■坚固的钢制外壳, 打开方便、简捷,便于维护、检修。
■可选配电转向
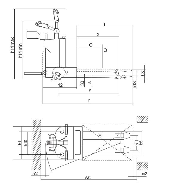
| 技术配置参数表 | 单位 | CBD20/25/30/40 |
| 额定载荷 | Kg | 2000/2500/3000/4000 |
| 驾驶方式 | 站驾 | |
| 载荷中心距 | mm(c) | 600 |
| 前悬距 | x(mm) | 815/865/935 |
| 轮距 | Y(mm) | 1211/1261/1331 |
| 自重(带电瓶) | kg | 540-700kg |
| 轴负载,满载时前/后轴 | kg | 1080/1460 |
| 轴负载,空载时前/后轴 | kg | 470/170 |
| 轮子 | 聚氨酯轮 | |
| 轮子尺寸,前轮 | mm | 250*80 |
| 轮子尺寸,后轮 | mm | 80*70 |
| 轮,前后数量(X=驱动轮) | lx+2/4 | |
| 前轮轮距 | (blO)mm | 580 |
| 后轮轮距 | (bll)mm | 340/370/470/505 |
| 起升高度 | h3(mm) | 205 |
| 降低时高度 | H13mm | 85 |
| 操作手柄在驱动位置的最小/最大高度 | hl4(mm) | 1042/1295 |
| 总体长度 | ll(mm) | 1780/1830/1900 |
| 叉面长度 | 12(mm) | 1200 |
| 货叉尺寸 | S/e/l(mm) | 65*180*1200(1200-3000) |
| 车体宽度 | bl(mm) | 805 |
| 货叉外宽 | b5(mm) | 550/685 |
| 轴距中心离地间隙 | m2(mm) | 40 |
| 通道宽度,托盘1000x1200(1200跨货叉放置) | Ast(mm) | 2100/2400 |
| 通道宽度,托盘800x1200(1200沿货叉放置) | Ast(mm) | 2080/2100 |
| 转弯半径 | Wa(mm) | 1482/1608/1678 |
| 行驶速度,满载/空载 | Km/h | 4.5/6.2 |
| 提升速度,满载/空载 | m/s | 0.03/0.04 |
| 下降速度,满载/空载 | m/s | 0.05/0.045 |
| 最大爬坡能力,满载/空载 | % | 5/12 |
| 行车制动 | 电磁制动 | |
| 驱动电机功率 | kW | 1.5 |
| 提升电机功率 | kW | 2.2 |
| 电瓶24V | AH | 120/130/150/210/240/280 |
| 备注:特殊规格可以按照客户要求制作 | ||


